Oct 27 – 31, 2025
InterContinental Chengdu Global Center
Asia/Shanghai timezone
The submission portal for presentation materials and papers is now open. Please submit your full paper before October 29.

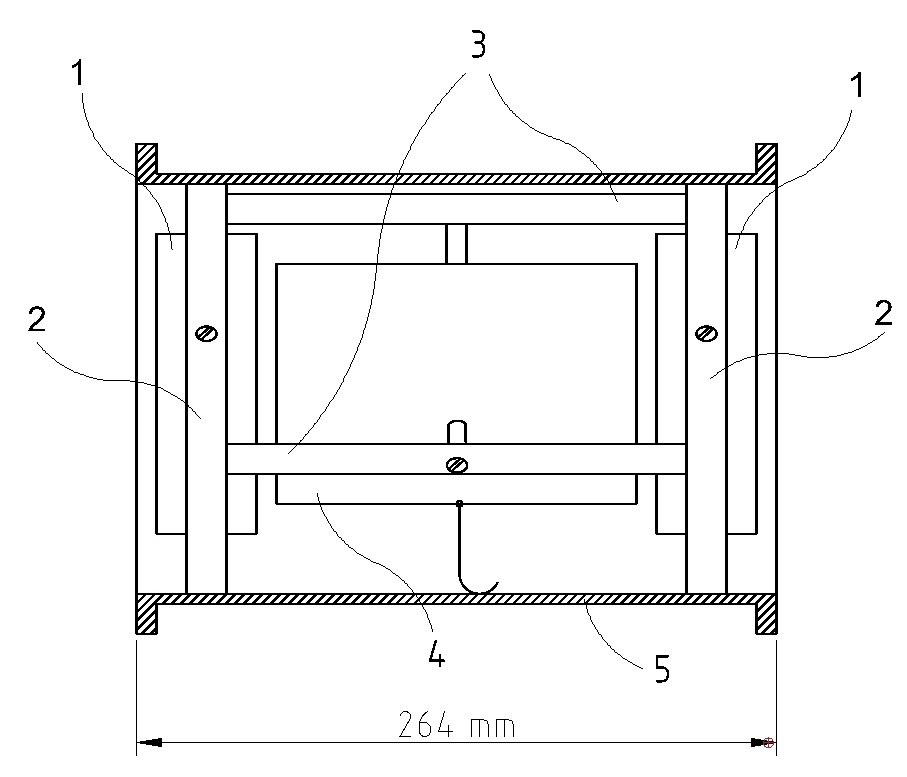
Compact Beam Energy Monitor for Cyclotrons

MOP33
Oct 27, 2025, 4:30 PM
2h
InterContinental Chengdu Global Center

InterContinental Chengdu Global Center

Chengdu, China
Poster Presentation Operation and Upgrades Monday Poster Session

Speaker

Zoltán Kormány (HUN-REN Institute for Nuclear Research)

Description

Determining the energy of cyclotron beams is challenging. Calculating it from the machine settings typically results in an error of several percent. Higher accuracy requires measurement, but each developed measurement system has disadvantages: either the space requirement is large, the unit is destructive, or the signal evaluation is complicated. The Beam Energy Monitor (BEM) was designed to provide an ideal solution: compact size, non-destructive sensors, low energy consumption and user-friendly operation. This was achieved by developing an innovative sensor unit*, which enables accurate time-of-flight measurements on an extremely short flight path. The unit's signal is acquired and processed digitally. Various digital signal processing methods were evaluated using simulated probe signals to determine the most effective method of measuring time difference between pulses. The signal processing was tested using pulses from a generator. The results show that time measurements with an absolute error of less than 1 ps were achieved. The accuracy of the complete system during practical operation was also investigated. Neutron threshold reactions showed that the measurement accuracy is at least one order of magnitude better than the calculated energy value accuracy. The prototype unit was developed for the cyclotron at the HUN-REN Institute for Nuclear Research. Installed in the main beamline, it can monitor the beam energy continuously and independently from the beamline in use.

Footnotes

*Z. Kormány, patent pending (PCT/HU2025/050012)

Author

Zoltán Kormány (HUN-REN Institute for Nuclear Research)

Presentation materials

There are no materials yet.

Peer reviewing

Paper